中微公司获得发明专利授权:“一种等离子体处理装置及其可伸缩密封部”

图片来源于网络,如有侵权,请联系删除
证券之星消息,根据天眼查APP数据显示中微公司(688012)新获得一项发明专利授权,专利名为“一种等离子体处理装置及其可伸缩密封部”,专利申请号为CN202110610144.9,授权日为2025年5月9日。
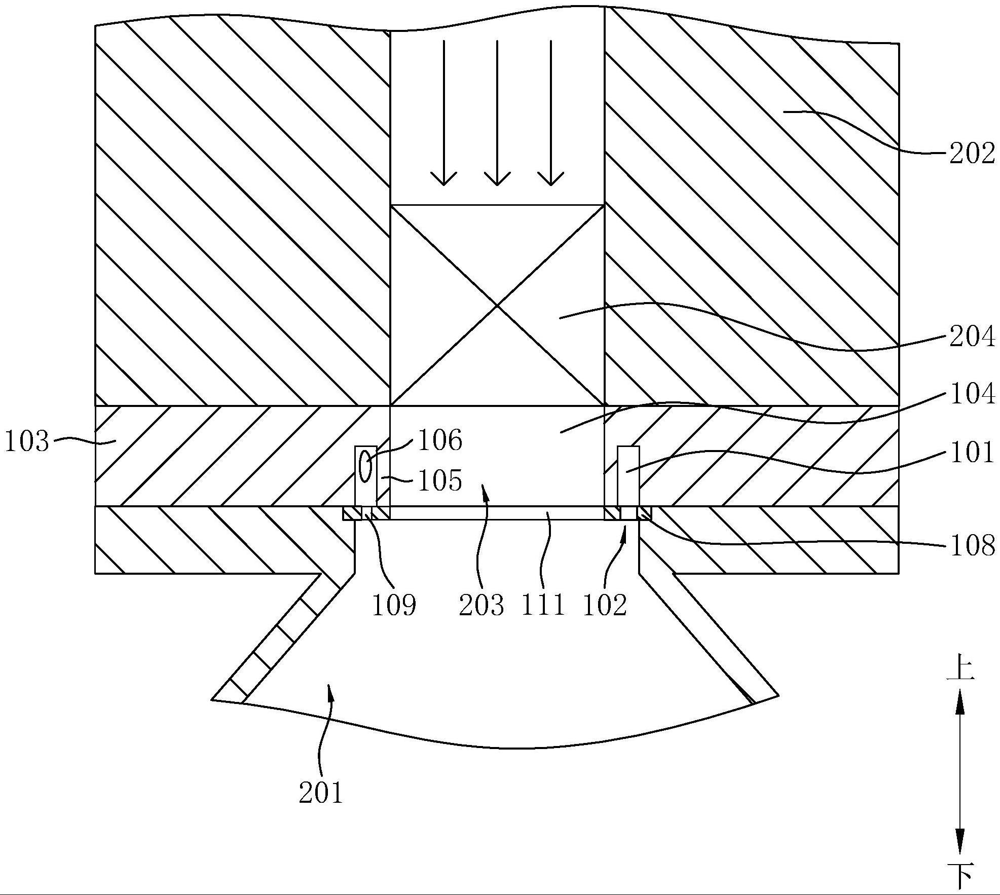
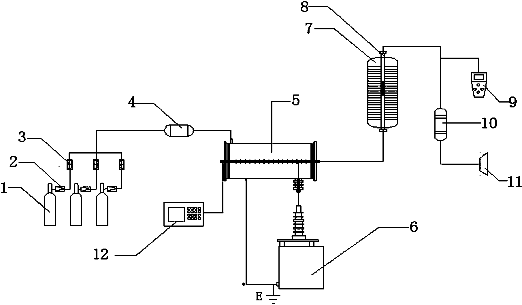
专利摘要:一种等离子体处理装置及其可伸缩密封部,可伸缩密封部设置在等离子体处理装置的射频回路中或射频回路附近,可伸缩密封部包含具有第一端部和第二端部的波纹管组件,在波纹管组件的上部和下部增加了隔离环以减弱纵向的射频耦合,在波纹管组件的内侧和外侧增加了金属套筒以屏蔽横向的射频耦合。本发明在保持了可伸缩密封部具有隔绝真空和可伸缩功能的基础上,有效地屏蔽了射频耦合,获得稳定的射频回路及刻蚀速率。

图片来源于网络,如有侵权,请联系删除
今年以来中微公司新获得专利授权66个,较去年同期增加了13.79%。结合公司2024年年报财务数据,2024年公司在研发方面投入了14.18亿元,同比增73.59%。
数据来源:天眼查APP
以上内容为证券之星据公开信息整理,由AI算法生成(网信算备310104345710301240019号),不构成投资建议。
目录 返回
首页
