九阳股份获得发明专利授权:“一种管道结构及蒸汽加热器具”

图片来源于网络,如有侵权,请联系删除
证券之星消息,根据天眼查APP数据显示九阳股份(002242)新获得一项发明专利授权,专利名为“一种管道结构及蒸汽加热器具”,专利申请号为CN202111238429.0,授权日为2025年5月16日。
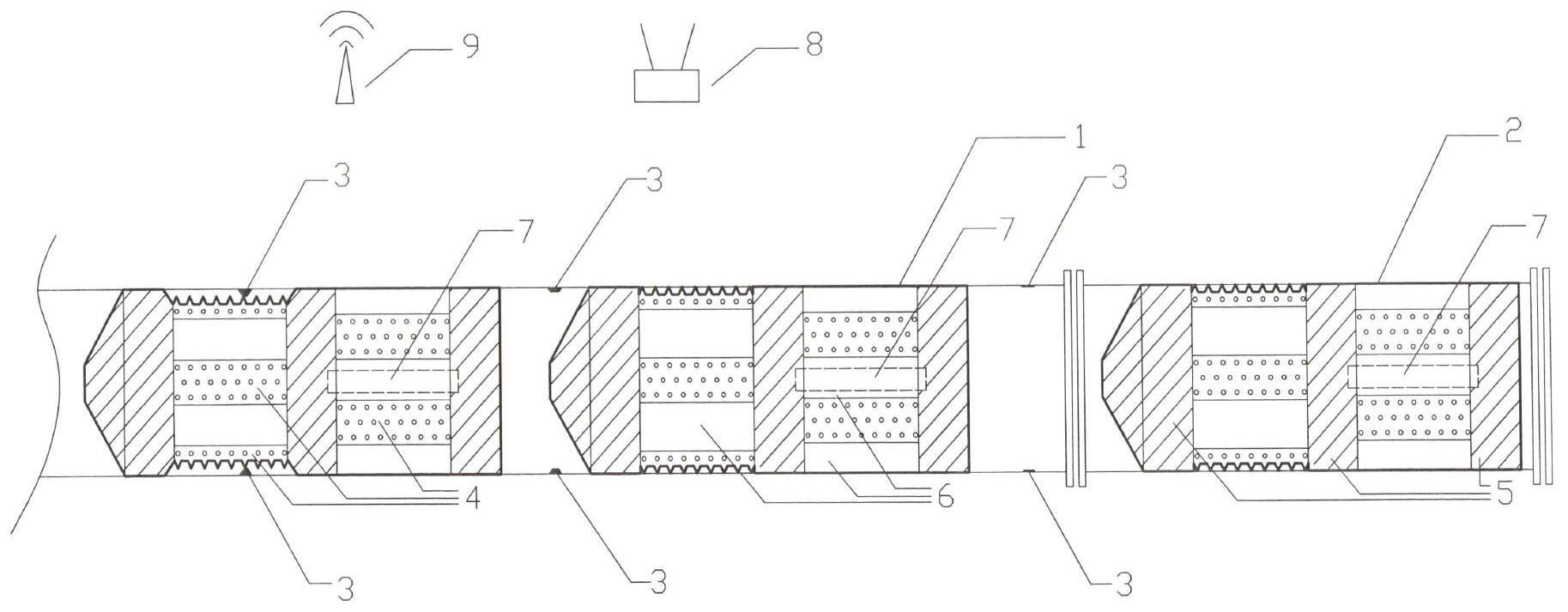
专利摘要:本申请公开了一种管道结构及蒸汽加热器具,该管道结构包括管体和设置于所述管体内的蒸汽通道,还包括:混合部,所述混合部设于所述管体上,所述蒸汽通道包括形成于所述混合部内的第一气流通道,所述第一气流通道用于输送蒸汽;第二气流通道,所述第二气流通道设于所述混合部上,所述第二气流通道用于自吸入第二气体;所述蒸汽与所述第二气体混合后,输送至烹饪腔的液态或固液混合物中进行加热。本申请的使用该管道结构,具有混合部,可将蒸汽与第二气体混合,结构简单,成本低,具有良好的应用价值,降噪效果明显,用户体验好。
今年以来九阳股份新获得专利授权292个,较去年同期减少了1.68%。结合公司2024年年报财务数据,2024年公司在研发方面投入了3.61亿元,同比减7.19%。
数据来源:天眼查APP
以上内容为证券之星据公开信息整理,由AI算法生成(网信算备310104345710301240019号),不构成投资建议。
目录 返回
首页
