大族激光获得实用新型专利授权:“镜片保护结构和加工设备”

图片来源于网络,如有侵权,请联系删除
证券之星消息,根据天眼查APP数据显示大族激光(002008)新获得一项实用新型专利授权,专利名为“镜片保护结构和加工设备”,专利申请号为CN202420780773.5,授权日为2025年5月6日。
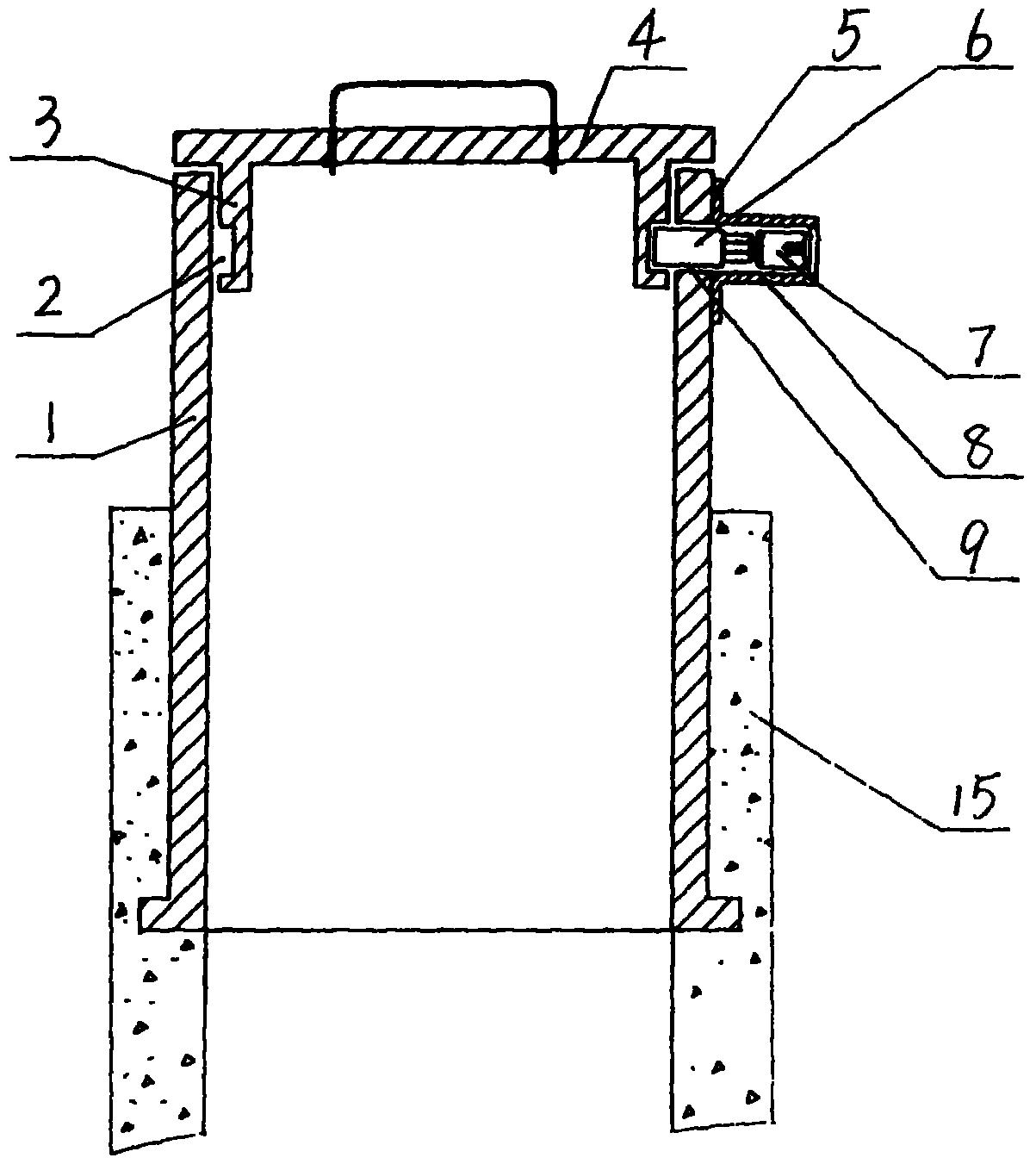
专利摘要:本实用新型公开一种镜片保护结构和加工设备,其中,镜片保护结构包括:固定件,固定件设有容置腔、第一光路通孔、第二光路通孔、进气通孔以及排气通孔,进气通孔与排气通孔沿第二方向设于光路通道的两侧,第二方向与第一方向垂直;第一气帘组件,第一气帘组件设于固定件上,第一气帘组件与光路通道间隔设置,第一气帘组件位于设有进气通孔的一侧,第一气帘组件由进气通孔向排气通孔吹气;第二气帘组件,第二气帘组件与容置腔间隔设置,第二气帘组件设于固定件设有第二光路通孔的一侧,第二气帘组件与光路通道间隔设置。本实用新型实施例能形成双层气帘,将焊渣吹离,避免焊渣烧伤保护镜。
今年以来大族激光新获得专利授权146个,较去年同期增加了30.36%。结合公司2024年年报财务数据,2024年公司在研发方面投入了18亿元,同比增1.87%。
数据来源:天眼查APP
以上内容为证券之星据公开信息整理,由AI算法生成(网信算备310104345710301240019号),不构成投资建议。
目录 返回
首页
