三峡能源获得实用新型专利授权:“一种集电线路杆塔基础防护装置”

图片来源于网络,如有侵权,请联系删除
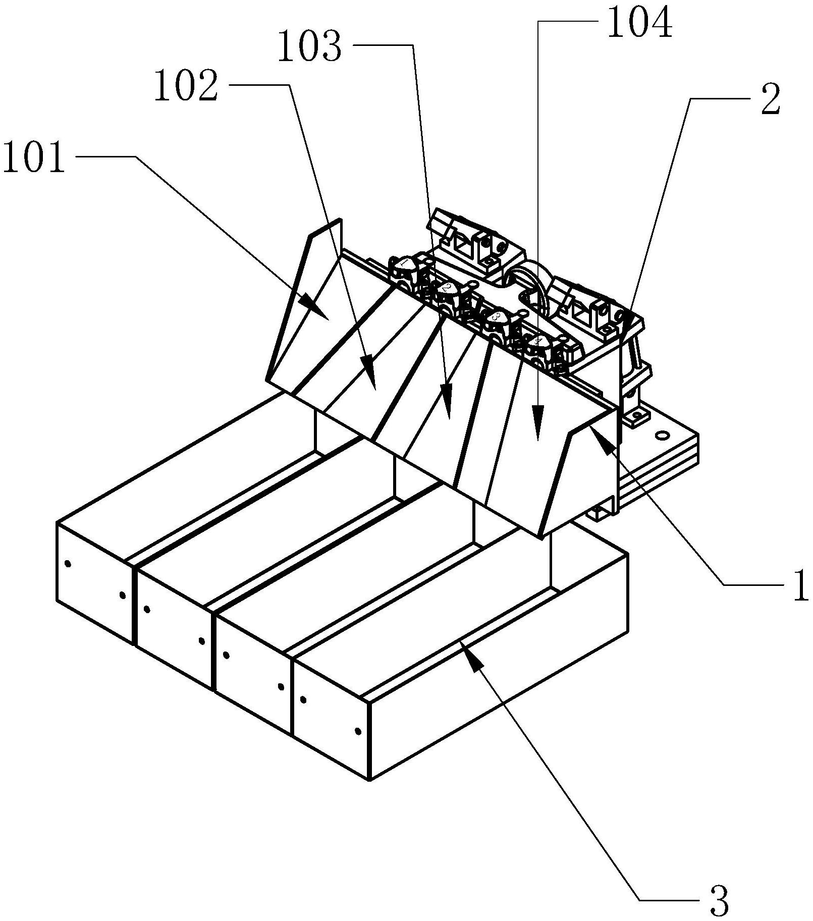
证券之星消息,根据天眼查APP数据显示三峡能源(600905)新获得一项实用新型专利授权,专利名为“一种集电线路杆塔基础防护装置”,专利申请号为CN202421395866.2,授权日为2025年5月23日。
专利摘要:本实用新型提供一种集电线路杆塔基础防护装置,包括基础组件、支撑件、多个减振件和多个稳定组件,基础组件用于连接在地基上。支撑件的上端用于与杆塔连接,支撑件的下端通过多个减振件连接在基础组件上。稳定组件包括稳定杆,稳定杆包括杆体和两个扭转臂,且两个扭转臂位于杆体的同侧。各稳定杆间隔布置在支撑件的周侧,各杆体连接在基础组件上,相邻两个杆体上相近的两个扭转臂相互靠近,并分别与支撑件的周壁连接。稳定杆被配置为,在支撑件朝一侧倾斜并下压该侧稳定杆上的一个扭转臂而使对应的杆体转动时,杆体带动另一个扭转臂对支撑件的其余侧进行下压。本实用新型的集电线路杆塔基础防护装置,能够抵消一部分倾侧力,便于杆塔回正。

图片来源于网络,如有侵权,请联系删除
今年以来三峡能源新获得专利授权68个,较去年同期减少了27.66%。结合公司2024年年报财务数据,2024年公司在研发方面投入了4252.82万元,同比增146.79%。
数据来源:天眼查APP
以上内容为证券之星据公开信息整理,由AI算法生成(网信算备310104345710301240019号),不构成投资建议。
目录 返回
首页
