宁德时代获得实用新型专利授权:“电极组件整形装置及电池生产设备”

图片来源于网络,如有侵权,请联系删除
证券之星消息,根据天眼查APP数据显示宁德时代(300750)新获得一项实用新型专利授权,专利名为“电极组件整形装置及电池生产设备”,专利申请号为CN202520234465.7,授权日为2025年5月9日。
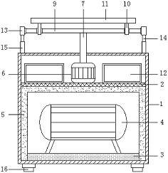
专利摘要:本申请提供一种电极组件整形装置及电池生产设备,属于电池技术领域。电极组件整形装置用于对电极组件进行整压,电极组件包括两个相对的弯折部和位于两个弯折部之间的平整部。电极组件整形装置包括支撑件和整形件;支撑件具有支撑电极组件的支撑面;整形件与支撑件沿第一方向间隔设置,并被构造为能够沿第一方向对位于支撑面上的电极组件进行整压,整形件包括用于对平整部进行整压的第一整压面,以及用于对弯折部进行整压的第二整压面;其中,第二整压面至少部分区域与支撑面沿第一方向的距离大于第一整压面与支撑面沿第一方向的最大距离。由此,可以降低电极组件在整压过程中受到损伤或发生断裂的风险,提高整压质量。

图片来源于网络,如有侵权,请联系删除
今年以来宁德时代新获得专利授权1762个,较去年同期增加了27.59%。结合公司2024年年报财务数据,2024年公司在研发方面投入了186.07亿元,同比增1.37%。
数据来源:天眼查APP
以上内容为证券之星据公开信息整理,由AI算法生成(网信算备310104345710301240019号),不构成投资建议。
目录 返回
首页
