移远通信获得发明专利授权:“用于无线通信的方法、终端设备及网络设备”

图片来源于网络,如有侵权,请联系删除
证券之星消息,根据天眼查APP数据显示移远通信(603236)新获得一项发明专利授权,专利名为“用于无线通信的方法、终端设备及网络设备”,专利申请号为CN202480000684.7,授权日为2025年5月27日。
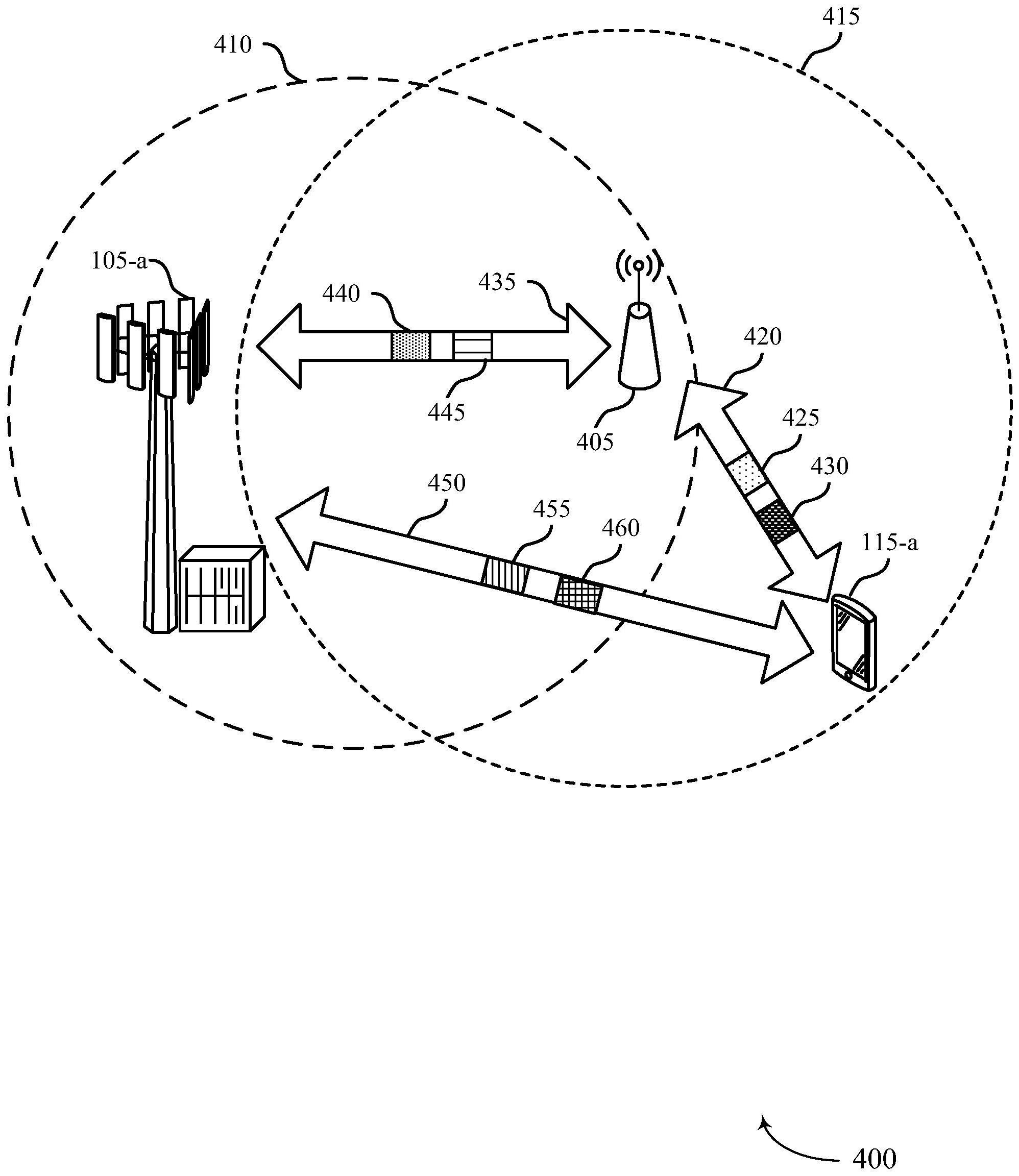
专利摘要:提供了一种用于无线通信的方法、终端设备及网络设备,以便于终端设备在传输时延较长的NTN系统中执行基于半双工模式的无线通信。该方法包括:第一终端设备根据第一指示信息确定与半双工通信相关的第一资源;其中,所述第一资源用于所述第一终端设备在NTN中进行上行传输和/或下行接收。
今年以来移远通信新获得专利授权21个,较去年同期减少了12.5%。结合公司2024年年报财务数据,2024年公司在研发方面投入了16.69亿元,同比增4.02%。
数据来源:天眼查APP
以上内容为证券之星据公开信息整理,由AI算法生成(网信算备310104345710301240019号),不构成投资建议。
目录 返回
首页
