长城汽车获得实用新型专利授权:“顶盖总成及具有其的车辆”

图片来源于网络,如有侵权,请联系删除
证券之星消息,根据天眼查APP数据显示长城汽车(601633)新获得一项实用新型专利授权,专利名为“顶盖总成及具有其的车辆”,专利申请号为CN202422133473.0,授权日为2025年5月30日。
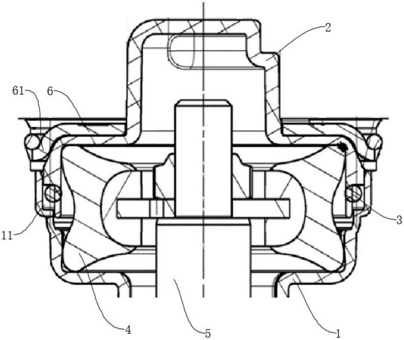
专利摘要:本实用新型公开了一种顶盖总成及具有其的车辆,顶盖总成包括顶盖本体、顶板、第一密封件和第二密封件,顶盖本体上设有安装槽;顶板对应设置于安装槽内;第一密封件设于安装槽内,且第一密封件的自由端与顶板抵触密封;第二密封件与第一密封件间隔设置,且第二密封件设于安装槽内,且第二密封件的自由端与顶板抵触密封。通过在顶盖本体上设有安装槽,以让顶板能够对应布置在安装槽内,以让顶板可以根据需求布置在顶盖本体上,以满足用户的使用多样性需求。不仅如此,在安装槽内还设有第一密封件和第二密封件,第一密封件和第二密封件适于与顶板抵触,以实现顶盖本体和顶板之间密封作用,以提升顶盖总成的使用性能。
今年以来长城汽车新获得专利授权1206个,较去年同期增加了58.27%。结合公司2024年年报财务数据,2024年公司在研发方面投入了92.84亿元,同比增15.27%。
数据来源:天眼查APP
以上内容为证券之星据公开信息整理,由AI算法生成(网信算备310104345710301240019号),不构成投资建议。
目录 返回
首页
