科达利获得实用新型专利授权:“铆接装置”

图片来源于网络,如有侵权,请联系删除
证券之星消息,根据天眼查APP数据显示科达利(002850)新获得一项实用新型专利授权,专利名为“铆接装置”,专利申请号为CN202421608422.2,授权日为2025年6月3日。
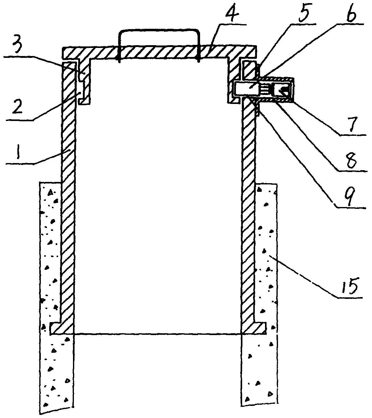
专利摘要:本实用新型属于电池生产设备技术领域,公开了一种铆接装置。该铆接装置具体包括上模组件、下模组件和隔膜,上模组件设置于极柱的顶部,下模组件的冲头抵接于极柱的底部,隔膜夹设于上模组件和极柱的顶部之间,以隔离上模组件的冲头和极柱,且隔膜采用易于形变的材料制成。在使用时,下模组件穿过电池外壳的底部开口,并抵接在极柱穿过顶盖板的部分,隔膜铺设在极柱的顶部上,再控制上模组件下降,上模组件对隔膜和极柱施加压力,使极柱穿过安装孔的部分发生变形,并固定在顶盖板上。通过隔膜的设置,能够从根本上杜绝了极柱和上模组件的冲头直接接触,降低了铝粉产出,从而减少了冲头降温冷却的次数,也确保了产能以及产品的质量。

图片来源于网络,如有侵权,请联系删除
今年以来科达利新获得专利授权44个,较去年同期增加了1000%。结合公司2024年年报财务数据,2024年公司在研发方面投入了6.39亿元,同比增0.47%。
数据来源:天眼查APP
以上内容为证券之星据公开信息整理,由AI算法生成(网信算备310104345710301240019号),不构成投资建议。
目录 返回
首页
