棕榈股份获得实用新型专利授权:“一种建筑物施工外架”

图片来源于网络,如有侵权,请联系删除
证券之星消息,根据天眼查APP数据显示棕榈股份(002431)新获得一项实用新型专利授权,专利名为“一种建筑物施工外架”,专利申请号为CN202421864275.5,授权日为2025年7月15日。
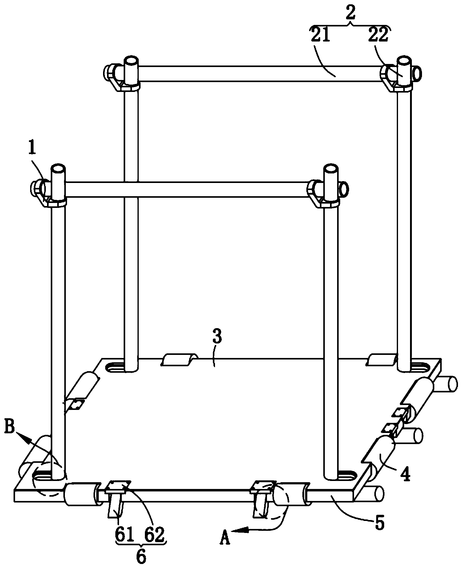
专利摘要:本实用新型提供一种建筑物施工外架,包括位于建筑物外侧的施工架机构,施工架机构包括支撑组件,支撑组件包括竖向设置的第一支撑杆和第二支撑杆,第一支撑杆和第二支撑杆之间设置有支撑架,支撑架包括可拆卸连接相邻两个同一水平线上的两个第一支撑杆和第二支撑杆的连接板,连接板的数量与第一支撑杆的数量相同,两端部的所述连接板的两侧分别插设有加强杆和支撑柱,本实用新型可以通过可拆卸涉及的施工架机构实现快速的组装拼接与拆装,大大提高拆装效率,便于运输和储存,安全性能更高,操作更加方便高效。

图片来源于网络,如有侵权,请联系删除
今年以来棕榈股份新获得专利授权17个,较去年同期增加了54.55%。结合公司2024年年报财务数据,2024年公司在研发方面投入了1.42亿元,同比减19.96%。
通过天眼查大数据分析,棕榈生态城镇发展股份有限公司共对外投资了106家企业,参与招投标项目1728次;财产线索方面有商标信息154条,专利信息180条,著作权信息10条;此外企业还拥有行政许可46个。
数据来源:天眼查APP
以上内容为证券之星据公开信息整理,由AI算法生成(网信算备310104345710301240019号),不构成投资建议。
目录 返回
首页
