泰尔股份获得发明专利授权:“一种扭矩波动小的盘式永磁涡流联轴器”

图片来源于网络,如有侵权,请联系删除
证券之星消息,根据天眼查APP数据显示泰尔股份(002347)新获得一项发明专利授权,专利名为“一种扭矩波动小的盘式永磁涡流联轴器”,专利申请号为CN201911116151.2,授权日为2025年7月15日。
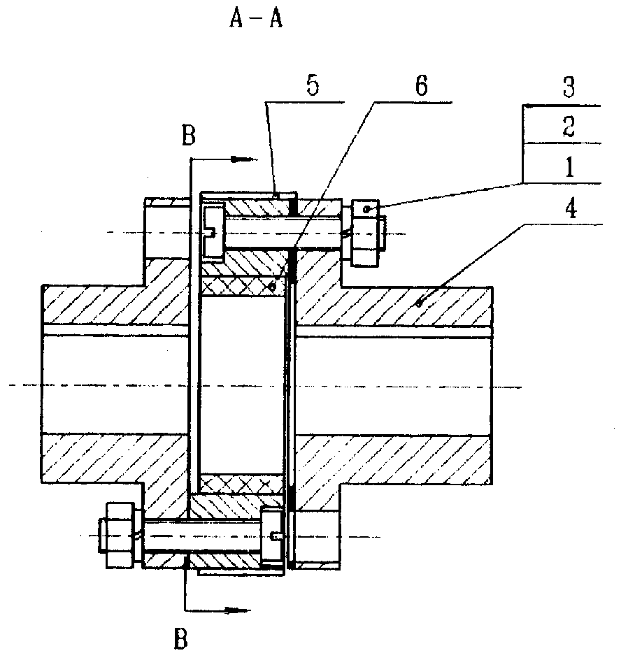
专利摘要:本发明公开了一种扭矩波动小的盘式永磁涡流联轴器,它包括主动轴、主动盘、从动轴、从动盘;主动盘包括背铁盘Ⅰ、若干块磁铁、具有铁块的引磁盘,背铁盘Ⅰ与引磁盘同轴设置且通过连接柱Ⅲ连接,背铁盘Ⅰ为圆环形,磁铁为扇环形、其固定在背铁盘Ⅰ与引磁盘相对的内表面上,背铁盘Ⅰ与主动轴之间通过连接柱Ⅰ连接;从动盘位于背铁盘Ⅰ和引磁盘的中间,与两者同轴设置,从动盘包括涡流盘、背铁盘Ⅱ,涡流盘、背铁盘Ⅱ紧贴在一起,从动轴从引磁盘中穿过,涡流盘的内孔、背铁盘Ⅱ的内孔与从动轴的轴段配合,且通过连接柱Ⅱ与从动轴的法兰部固定连接。本发明的传动盘与从动盘之间传递的扭矩增加,扭矩的波动减小。

图片来源于网络,如有侵权,请联系删除
今年以来泰尔股份新获得专利授权21个,较去年同期减少了40%。结合公司2024年年报财务数据,2024年公司在研发方面投入了6404.78万元,同比增8.97%。
通过天眼查大数据分析,泰尔重工股份有限公司共对外投资了25家企业,参与招投标项目1819次;财产线索方面有商标信息74条,专利信息543条,著作权信息45条;此外企业还拥有行政许可9个。
数据来源:天眼查APP
以上内容为证券之星据公开信息整理,由AI算法生成(网信算备310104345710301240019号),不构成投资建议。
目录 返回
首页
