潍柴动力获得发明专利授权:“尿素喷嘴喷射流量控制方法、装置、设备及存储介质”

图片来源于网络,如有侵权,请联系删除
证券之星消息,根据天眼查APP数据显示潍柴动力(000338)新获得一项发明专利授权,专利名为“尿素喷嘴喷射流量控制方法、装置、设备及存储介质”,专利申请号为CN202310416764.8,授权日为2025年7月18日。
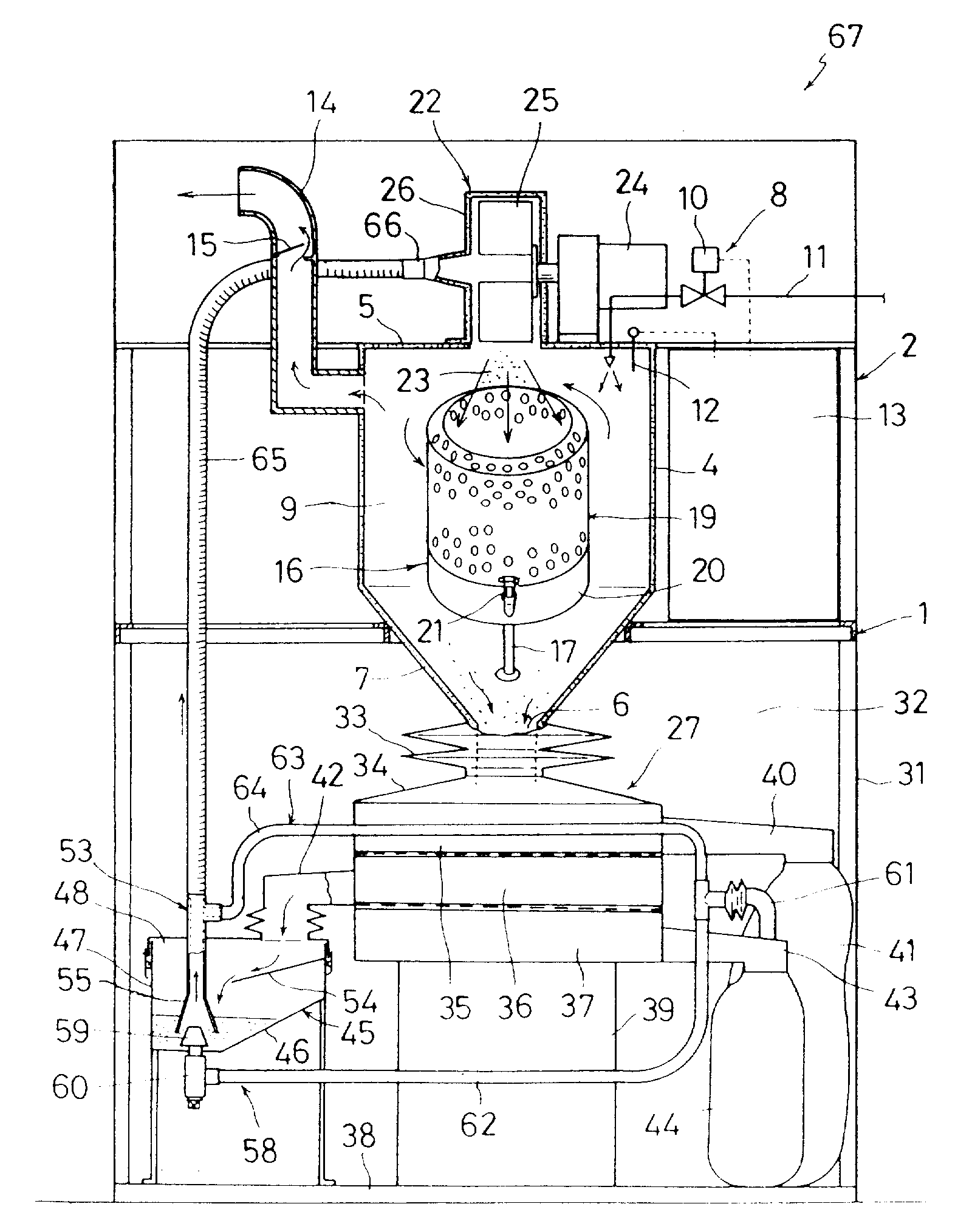
专利摘要:本申请涉及尾气处理技术领域的一种尿素喷嘴喷射流量控制方法、装置、设备及存储介质,所述尿素喷嘴喷射流量控制方法包括:根据所述尿素喷嘴的基础开度,得到所述尿素喷嘴的尿素基础需求流量;根据所述基础开度,得到所述尿素喷嘴在所述基础开度下的当前喷射流量;根据所述尿素基础需求流量和所述当前喷射流量,得到尿素喷嘴的开度的补偿因子;根据所述补偿因子和所述基础开度,得到所述尿素喷嘴实际要输出的驱动开度。本申请的控制方法可以实现对尿素喷射的精准控制,满足对排放的要求。

图片来源于网络,如有侵权,请联系删除
今年以来潍柴动力新获得专利授权644个,较去年同期减少了19.6%。结合公司2024年年报财务数据,2024年公司在研发方面投入了82.99亿元,同比增3.16%。
通过天眼查大数据分析,潍柴动力股份有限公司共对外投资了64家企业,参与招投标项目12539次;财产线索方面有商标信息1219条,专利信息15518条,著作权信息625条;此外企业还拥有行政许可769个。
数据来源:天眼查APP
以上内容为证券之星据公开信息整理,由AI算法生成(网信算备310104345710301240019号),不构成投资建议。
目录 返回
首页
