中南股份获得发明专利授权:“中厚板支撑辊吊装销设备及方法”

图片来源于网络,如有侵权,请联系删除
证券之星消息,根据天眼查APP数据显示中南股份(000717)新获得一项发明专利授权,专利名为“中厚板支撑辊吊装销设备及方法”,专利申请号为CN202210784873.0,授权日为2025年7月22日。
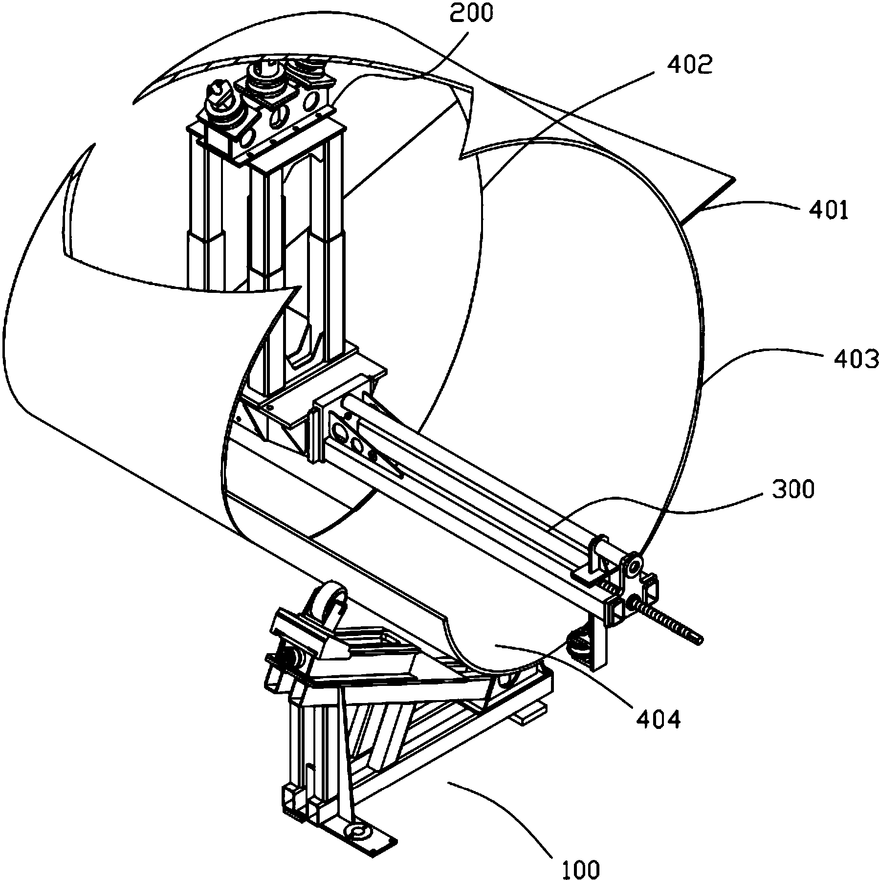
专利摘要:本发明的实施例提供了一种中厚板支撑辊吊装销设备及方法,涉及吊装销领域。旨在改善吊装销安装不安全且效率低的问题。中厚板支撑辊吊装销设备包括支撑辊、限位开关、吊装销支撑、升降机架、移动平台、推动机构以及夹持机构;支撑辊设置安装销孔;吊装销支撑用于沿Y方向引导吊装销;升降机架沿Z方向设置;移动平台沿X方向设置;夹持机构沿Y方向设置;推动机构用于推动夹持机构沿Y方向移动。根据预设位置,沿Z方向调试升降机架,沿X方向调试移动平台;然后通过限位开关控制支撑辊停在预设位置,然后通过推动机构以及夹持机构,推动吊装销支撑上吊装销沿Y方向与安装销孔装配,全程安全且效率高。
今年以来中南股份新获得专利授权38个,较去年同期减少了58.24%。结合公司2024年年报财务数据,2024年公司在研发方面投入了6.21亿元,同比减19.27%。
通过天眼查大数据分析,广东中南钢铁股份有限公司共对外投资了11家企业,参与招投标项目6305次;财产线索方面有商标信息5条,专利信息2561条,著作权信息24条;此外企业还拥有行政许可2005个。
数据来源:天眼查APP
以上内容为证券之星据公开信息整理,由AI算法生成(网信算备310104345710301240019号),不构成投资建议。
目录 返回
首页
