沪宁股份获得发明专利授权:“一种滚轮制动机构”

图片来源于网络,如有侵权,请联系删除
证券之星消息,根据天眼查APP数据显示沪宁股份(300669)新获得一项发明专利授权,专利名为“一种滚轮制动机构”,专利申请号为CN202210698769.X,授权日为2025年7月22日。
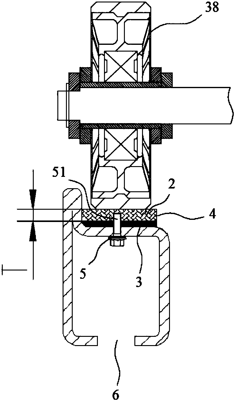
专利摘要:本发明属于电梯部件技术领域,具体涉及一种滚轮制动机构,滚轮转动安装于轮座,所述滚轮制动机构包括制动环、摩擦件和驱动机构,制动环与滚轮同轴固定连接,制动环位于滚轮与轮座之间;摩擦件安装于轮座且位于制动环内;驱动机构用于驱动摩擦件沿制动环径向活动,以与制动环摩擦接触,实现滚轮制动。本发明的滚轮制动机构,利用制动环以及摩擦件的结构设计,制动可靠性高。

图片来源于网络,如有侵权,请联系删除
今年以来沪宁股份新获得专利授权16个,较去年同期减少了56.76%。结合公司2024年年报财务数据,2024年公司在研发方面投入了1894.8万元,同比减2.56%。
通过天眼查大数据分析,杭州沪宁电梯部件股份有限公司共对外投资了5家企业,参与招投标项目10次;财产线索方面有商标信息6条,专利信息294条,著作权信息3条;此外企业还拥有行政许可25个。
数据来源:天眼查APP
以上内容为证券之星据公开信息整理,由AI算法生成(网信算备310104345710301240019号),不构成投资建议。
目录 返回
首页
