智投视界

诺力股份获得外观设计专利授权:“模块化集成牵引车”

01 10月
作者:小微|{/foreach}{/if}

诺力股份获得外观设计专利授权:“模块化集成牵引车”
图片来源于网络,如有侵权,请联系删除

证券之星消息,根据天眼查APP数据显示诺力股份(603611)新获得一项外观设计专利授权,专利名为“模块化集成牵引车”,专利申请号为CN202530061818.3,授权日为2025年9月30日。

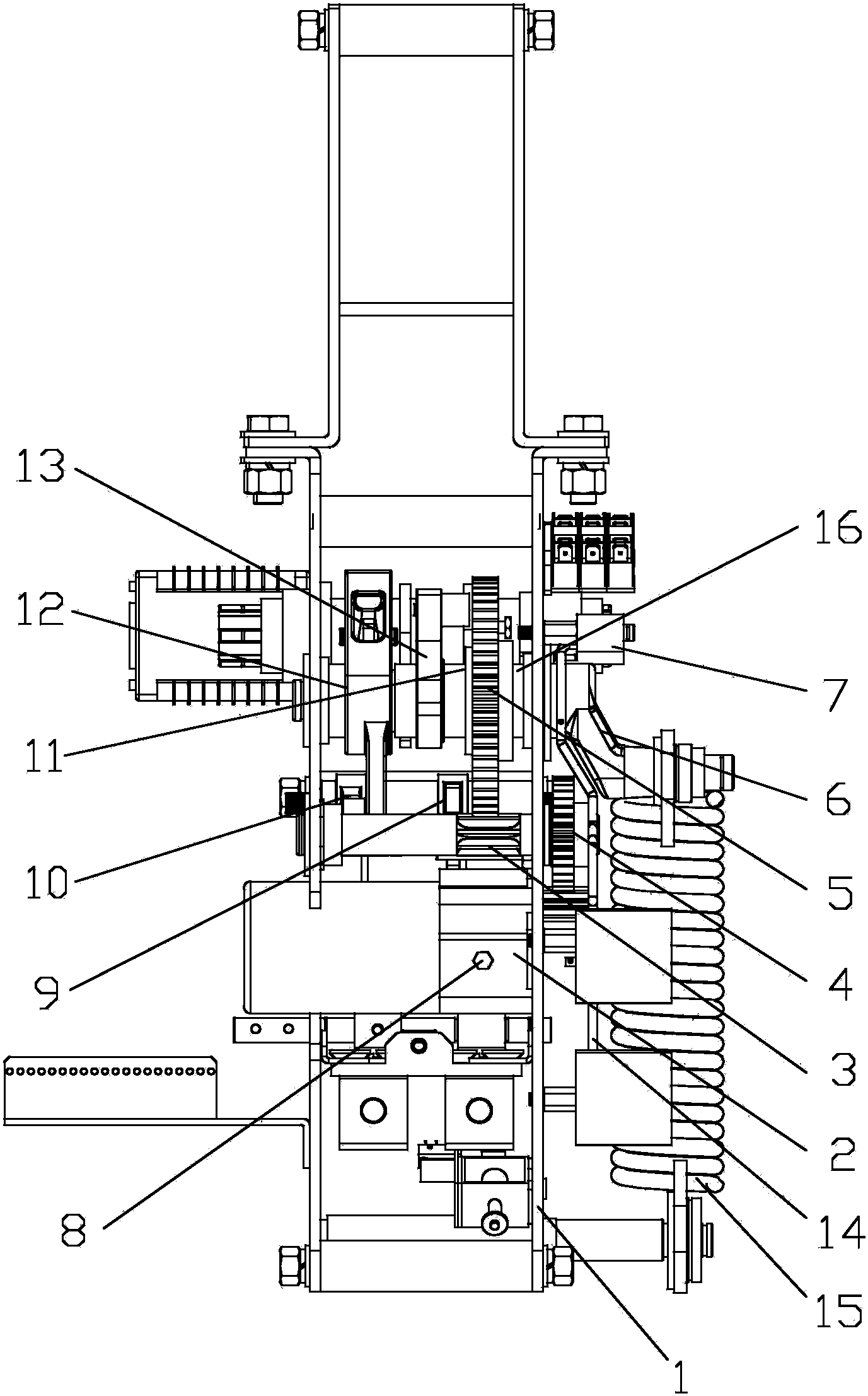
专利摘要:1.本外观设计产品的名称:模块化集成牵引车。2.本外观设计产品的用途:用于转移不同形式的货物载具的牵引车。3.本外观设计产品的设计要点:在于形状。4.最能表明设计要点的图片或照片:立体图1。

今年以来诺力股份新获得专利授权25个,较去年同期减少了45.65%。结合公司2025年中报财务数据,今年上半年公司在研发方面投入了1.29亿元,同比增3.74%。

通过天眼查大数据分析,诺力智能装备股份有限公司共对外投资了21家企业,参与招投标项目223次;财产线索方面有商标信息109条,专利信息682条,著作权信息38条;此外企业还拥有行政许可20个。

数据来源:天眼查APP

以上内容为证券之星据公开信息整理,由AI算法生成(网信算备310104345710301240019号),不构成投资建议。

浏览54.4k
返回
目录
返回
首页
上交所落地首单持有型不动产ABS扩募 实现多方面机制创新 债券回购扩大开放进行时,首日交易超58亿元!

Copyright © 2024 dw 版权所有

备案号: 蜀ICP备2024051291号-13

智投视界专业为您提供金融热点、数字经济、科技赋能、首发、财经新势、市价专栏等财经方面资讯,智投视界是一个专业财经领域资讯服务者。

本站部分内容为转载,不代表本站立场,如有侵权请联系处理。