格力电器获得发明专利授权:“气液分离器及空调系统”

图片来源于网络,如有侵权,请联系删除
证券之星消息,根据天眼查APP数据显示格力电器(000651)新获得一项发明专利授权,专利名为“气液分离器及空调系统”,专利申请号为CN202210188056.9,授权日为2025年2月7日。
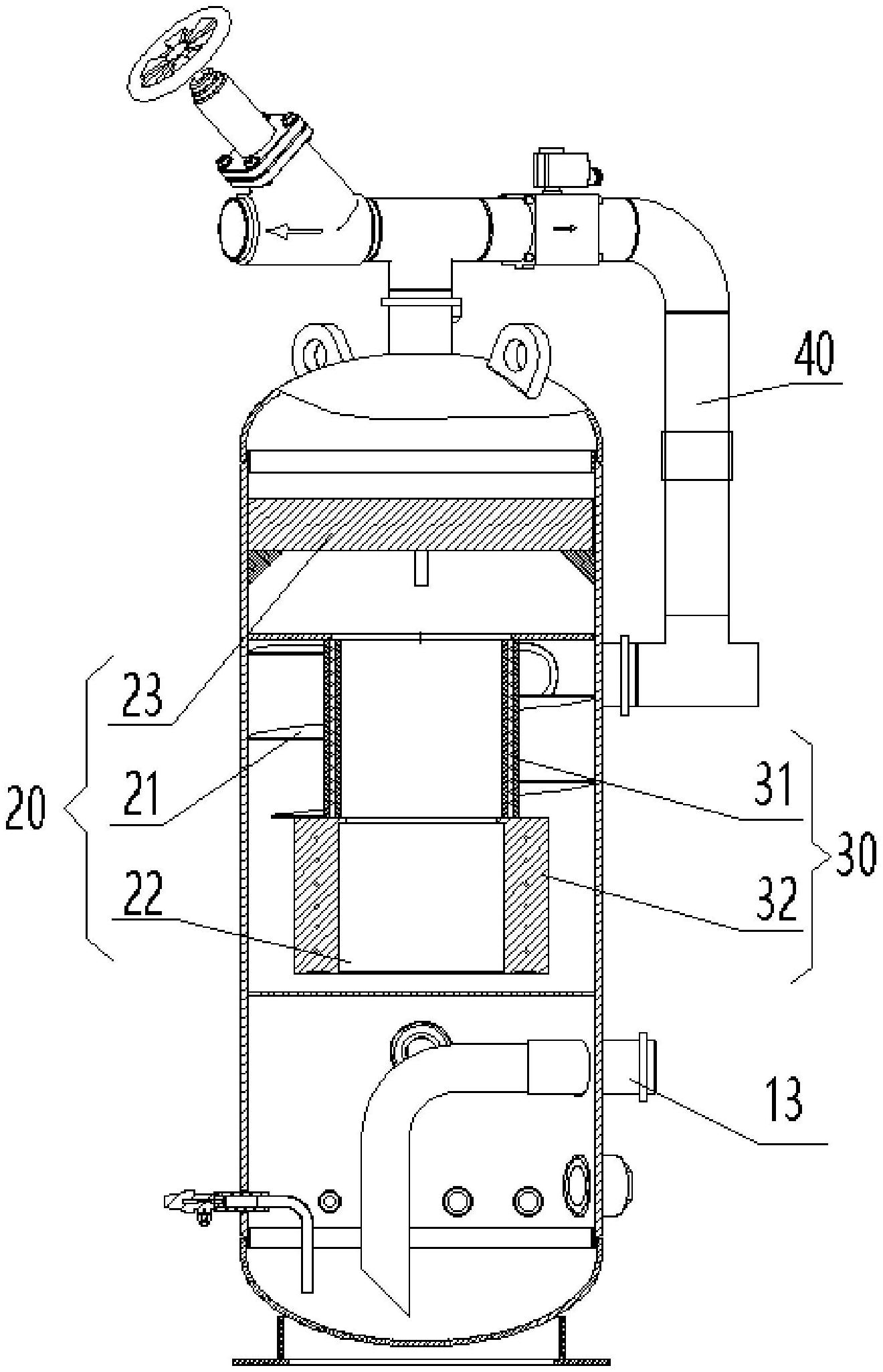
专利摘要:本公开涉及一种气液分离器及空调系统。气液分离器包括:壳体(10),具有内部空腔(11);排气管(20),具有插入所述内部空腔(11)的吸气端部(21);和节流调整机构,设置在所述内部空腔(11)内,被配置为根据所述内部空腔(11)内的液态冷媒的液位调整所述吸气端部(21)的节流面积。本公开实施例能够减少从气液分离器进入压缩机的液态冷媒量,减低压缩机液击风险。
今年以来格力电器新获得专利授权472个,较去年同期减少了4.45%。结合公司2024年中报财务数据,2024上半年公司在研发方面投入了35.32亿元,同比减0.35%。
数据来源:天眼查APP
以上内容为证券之星据公开信息整理,由智能算法生成(网信算备310104345710301240019号),不构成投资建议。
目录 返回
首页
