福立旺获得实用新型专利授权:“一种垂直升降货柜货物测高装置”

图片来源于网络,如有侵权,请联系删除
证券之星消息,根据天眼查APP数据显示福立旺(688678)新获得一项实用新型专利授权,专利名为“一种垂直升降货柜货物测高装置”,专利申请号为CN202422672446.0,授权日为2025年10月17日。
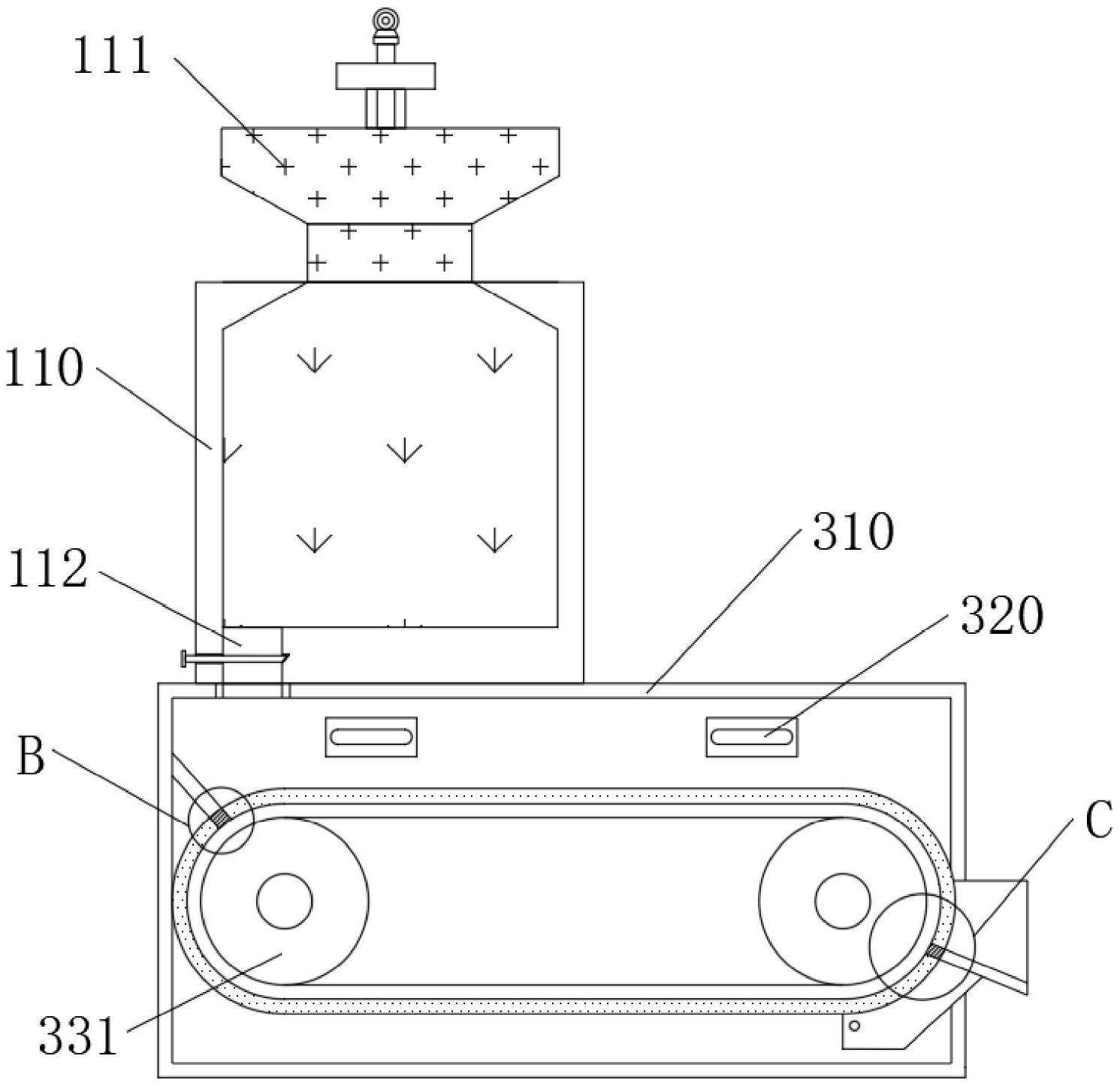
专利摘要:本实用新型涉及垂直升降货柜技术领域,具体为一种垂直升降货柜货物测高装置,主要包括支撑框架,所述支撑框架的外侧设置有外防护板,且支撑框架的内侧底端固定安装有控制底座,所述安装支撑组件设置于支撑框架的内侧前后两壁底端,且安装支撑组件的内侧滑动连接有检测支撑组件,所述检测支撑组件包括移动滑板,且移动滑板滑动连接于安装支撑组件的外侧,所述移动滑板的内侧底端固定安装有缓冲气缸。本申请的一种垂直升降货柜货物测高装置通过设置的安装支撑组件、检测支撑组件和顶部调节防护组件进行全方位的位置调节,可通过底部定位检测仪的定点检测,顶部定位检测仪的移动检测,对物品的长宽高进行无接触式测量,减少磨损,提高使用寿命。

图片来源于网络,如有侵权,请联系删除
今年以来福立旺新获得专利授权247个,较去年同期增加了97.6%。结合公司2025年中报财务数据,今年上半年公司在研发方面投入了6850.91万元,同比增15.04%。
通过天眼查大数据分析,福立旺精密机电(中国)股份有限公司共对外投资了4家企业,参与招投标项目85次;财产线索方面有商标信息36条,专利信息805条,著作权信息1条;此外企业还拥有行政许可62个。
数据来源:天眼查APP
以上内容为证券之星据公开信息整理,由AI算法生成(网信算备310104345710301240019号),不构成投资建议。
目录 返回
首页
