孚能科技获得实用新型专利授权:“一种具有散热结构的电池包”

图片来源于网络,如有侵权,请联系删除
证券之星消息,根据天眼查APP数据显示孚能科技(688567)新获得一项实用新型专利授权,专利名为“一种具有散热结构的电池包”,专利申请号为CN202422639011.6,授权日为2025年10月17日。
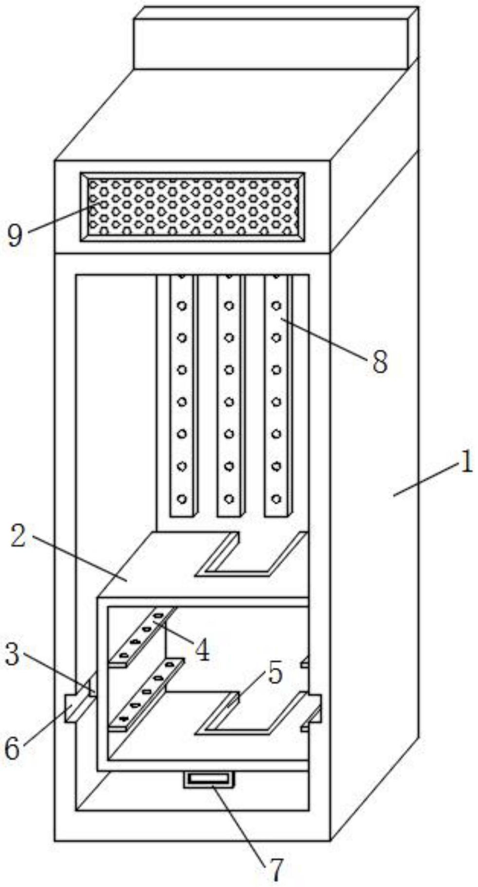
专利摘要:本实用新型公开一种具有散热结构的电池包,包括液冷集成式下箱体、导热组件、电芯模块以及上盖,所述导热组件沿着竖直方向设置在所述液冷集成式下箱体内部的中间位置,所述电芯模块分布在所述导热组件的两侧,并与导热组件接触,所述上盖盖设在所述液冷集成式下箱体的顶部开口上,并与所述导热组件的顶部接触,导热组件的底部与所述液冷集成式下箱体的底板接触,电芯模块中的各个电芯产生的热量通过导热组件向上传递至上盖或向下传递至液冷集成式下箱体。所述电池包设置有导热组件,可以将底部电芯的热量散发出去,使电芯能够均匀散热。
今年以来孚能科技新获得专利授权133个,较去年同期增加了19.82%。结合公司2025年中报财务数据,今年上半年公司在研发方面投入了2.98亿元,同比减15.22%。
通过天眼查大数据分析,孚能科技(赣州)股份有限公司共对外投资了17家企业,参与招投标项目55次;财产线索方面有商标信息129条,专利信息694条,著作权信息2条;此外企业还拥有行政许可31个。
数据来源:天眼查APP
以上内容为证券之星据公开信息整理,由AI算法生成(网信算备310104345710301240019号),不构成投资建议。
目录 返回
首页
