兖矿能源获得实用新型专利授权:“一种煤矿采掘推进装置”

图片来源于网络,如有侵权,请联系删除
证券之星消息,根据天眼查APP数据显示兖矿能源(600188)新获得一项实用新型专利授权,专利名为“一种煤矿采掘推进装置”,专利申请号为CN202520686619.6,授权日为2026年2月10日。
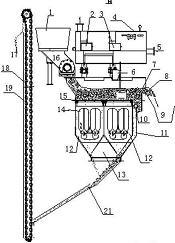
专利摘要:本申请涉及煤矿采掘推进装置领域,公开了一种煤矿采掘推进装置,包括安装底座,安装底座的表面设有螺纹安装孔,安装底座的一侧设有固定板,固定板的四周均设有液压杆,液压杆的一侧设有辅助机构,固定板的一侧设有推进筒,推进筒的一侧设有第一钻头,推进筒的四周表面设有滑槽。本申请通过第一轴承座和第二轴承座之间设有电动伸缩杆,可调节辅助筒的角度,进而整体装置成展开形状,第二钻头配合第一钻头可扩大推进面积,与传统的采掘推进装置比,该装置更加灵活,推进面积更大,从而提高工作效率。
今年以来兖矿能源新获得专利授权79个,较去年同期增加了259.09%。结合公司2025年中报财务数据,2025上半年公司在研发方面投入了7.47亿元,同比减17.3%。
通过天眼查大数据分析,兖矿能源集团股份有限公司共对外投资了59家企业,参与招投标项目25586次;财产线索方面有商标信息300条,专利信息2469条,著作权信息77条;此外企业还拥有行政许可48个。
数据来源:天眼查APP
以上内容为证券之星据公开信息整理,由AI算法生成(网信算备310104345710301240019号),不构成投资建议。
目录 返回
首页
