智投视界

格力博获得实用新型专利授权:“一种操控装置及园林工具”

27 02月
作者:小微|{/foreach}{/if}

格力博获得实用新型专利授权:“一种操控装置及园林工具”
图片来源于网络,如有侵权,请联系删除

证券之星消息,根据天眼查APP数据显示格力博(301260)新获得一项实用新型专利授权,专利名为“一种操控装置及园林工具”,专利申请号为CN202423318781.7,授权日为2026年2月27日。

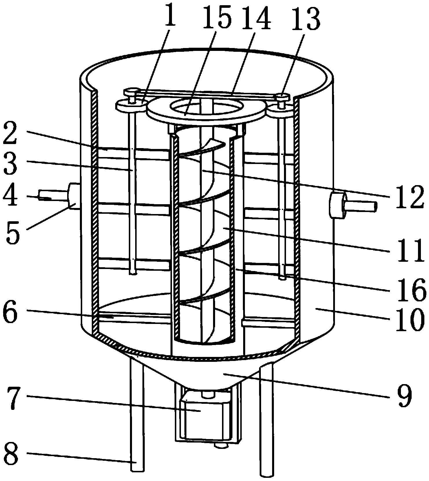
专利摘要:本实用新型属于园林工具技术领域,具体涉及一种操控装置及园林工具,操控装置包括:活动部,活动部与园林工具的机架活动连接,以使活动部能够在第一位置和第二位置之间切换;联动控制单元,被配置为能够识别活动部的位置,并根据活动部的位置控制园林工具动作;第一电加热装置,安装于活动部。本实用新型在操控装置上设置电加热装置,电加热装置能够使用户的手部保持温暖,提升用户的使用体验,另外,本实用新型提供的电加热装置能够根据操控装置的使用状态自动启动或关闭,避免了不必要的电能损耗。

格力博获得实用新型专利授权:“一种操控装置及园林工具”
图片来源于网络,如有侵权,请联系删除

今年以来格力博新获得专利授权17个,较去年同期减少了10.53%。结合公司2025年中报财务数据,2025上半年公司在研发方面投入了1.25亿元,同比增11.95%。

通过天眼查大数据分析,格力博(江苏)股份有限公司共对外投资了11家企业,参与招投标项目54次;财产线索方面有商标信息482条,专利信息2616条,著作权信息9条;此外企业还拥有行政许可27个。

数据来源:天眼查APP

以上内容为证券之星据公开信息整理,由AI算法生成(网信算备310104345710301240019号),不构成投资建议。

浏览60.4k
返回
目录
返回
首页
夯实境外融资通道 新城成功发行3.55亿美元债 加纳阶梯式矿产资源税制度将实施

Copyright © 2024 dw 版权所有

备案号: 蜀ICP备2024051291号-13

智投视界专业为您提供金融热点、数字经济、科技赋能、首发、财经新势、市价专栏等财经方面资讯,智投视界是一个专业财经领域资讯服务者。

本站部分内容为转载,不代表本站立场,如有侵权请联系处理。