中创智领获得实用新型专利授权:“相控阵扫查器装置”

图片来源于网络,如有侵权,请联系删除
证券之星消息,根据天眼查APP数据显示中创智领(601717)新获得一项实用新型专利授权,专利名为“相控阵扫查器装置”,专利申请号为CN202520161353.3,授权日为2026年3月10日。
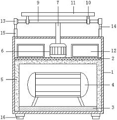
专利摘要:本实用新型提供一种相控阵扫查器装置,包括探头、支撑固定架、倒L型连接杆组件、标尺伸缩杆和竖向限位杆;所述探头可旋转连接在所述支撑固定架的一侧,所述倒L型连接杆组件连接在所述支撑固定架的顶部,所述标尺伸缩杆滑动设置在所述倒L型连接杆组件的水平段,所述竖向限位杆竖向滑动设置在所述标尺伸缩杆上。该相控阵扫查器装置能够保证探头与参考点或面的距离恒定,实现了探头与工件的耦合,满足了探头与焊缝轴线成多夹角扫查的要求。

图片来源于网络,如有侵权,请联系删除
今年以来中创智领新获得专利授权5个,较去年同期减少了44.44%。结合公司2025年中报财务数据,2025上半年公司在研发方面投入了7.9亿元,同比减2.13%。
通过天眼查大数据分析,中创智领(郑州)工业技术集团股份有限公司共对外投资了25家企业,参与招投标项目3346次;财产线索方面有商标信息191条,专利信息612条,著作权信息36条;此外企业还拥有行政许可72个。
数据来源:天眼查APP
以上内容为证券之星据公开信息整理,由AI算法生成(网信算备310104345710301240019号),不构成投资建议。
目录 返回
首页
