柳 工获得实用新型专利授权:“一种变速箱结构及装载机”

图片来源于网络,如有侵权,请联系删除
证券之星消息,根据天眼查APP数据显示柳 工(000528)新获得一项实用新型专利授权,专利名为“一种变速箱结构及装载机”,专利申请号为CN202520968792.5,授权日为2026年3月10日。
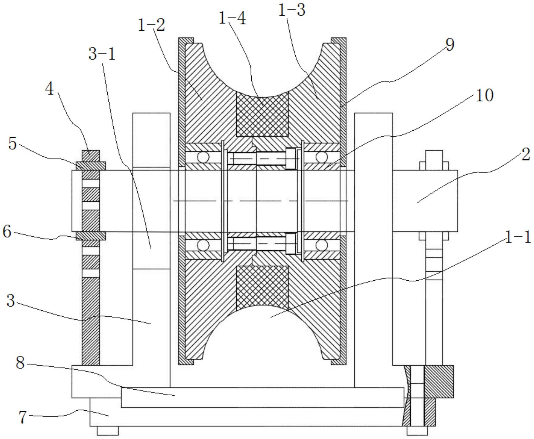
专利摘要:本实用新型属于工程机械技术领域,公开了一种变速箱结构及装载机,变速箱结构包括主壳,设于主壳上的第一配油盖、第二配油盖、变速控制阀,以及设于主壳内的一挡轴和二挡轴,主壳具有一挡活塞腔和二挡活塞腔,第一配油盖具有第一输油道,第二配油盖具有第二输油道,变速控制阀具有连通油箱的第一油道和第二油道,第一油道连通第一输油道的第一端,第二油道连通第二输油道的第一端,一挡轴和二挡轴转动设于主壳内,一挡轴内开设有第一换挡油道,第一输油道能通过第一换挡油道连通一挡活塞腔,第二输油道能通过第二换挡油道连通二挡活塞腔;装载机包括上述的变速箱结构。该变速箱结构简单,简化变速箱主壳内部结构,便于生产维护。
今年以来柳 工新获得专利授权65个,较去年同期增加了96.97%。结合公司2025年中报财务数据,2025上半年公司在研发方面投入了6.08亿元,同比增25.63%。
通过天眼查大数据分析,广西柳工机械股份有限公司共对外投资了39家企业,参与招投标项目1377次;财产线索方面有商标信息88条,专利信息3142条,著作权信息155条;此外企业还拥有行政许可516个。
数据来源:天眼查APP
以上内容为证券之星据公开信息整理,由AI算法生成(网信算备310104345710301240019号),不构成投资建议。
目录 返回
首页
