三德科技获得实用新型专利授权:“一种用于全水分测试的人工放样装置”

图片来源于网络,如有侵权,请联系删除
证券之星消息,根据天眼查APP数据显示三德科技(300515)新获得一项实用新型专利授权,专利名为“一种用于全水分测试的人工放样装置”,专利申请号为CN202520680297.4,授权日为2026年2月27日。
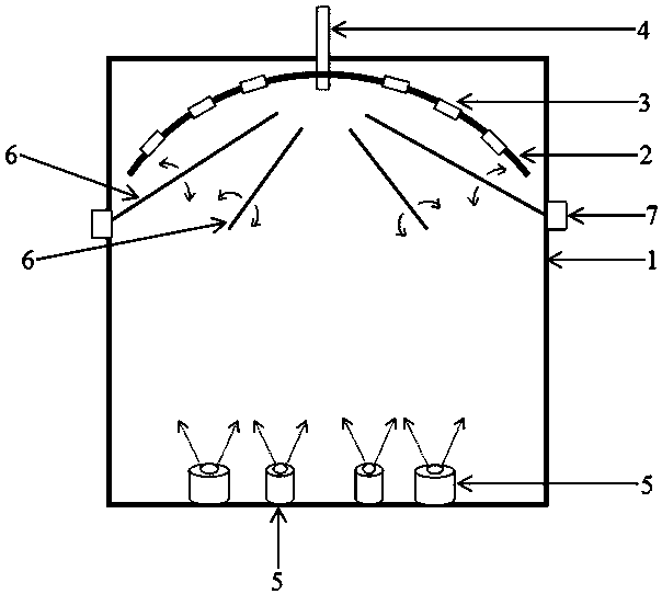
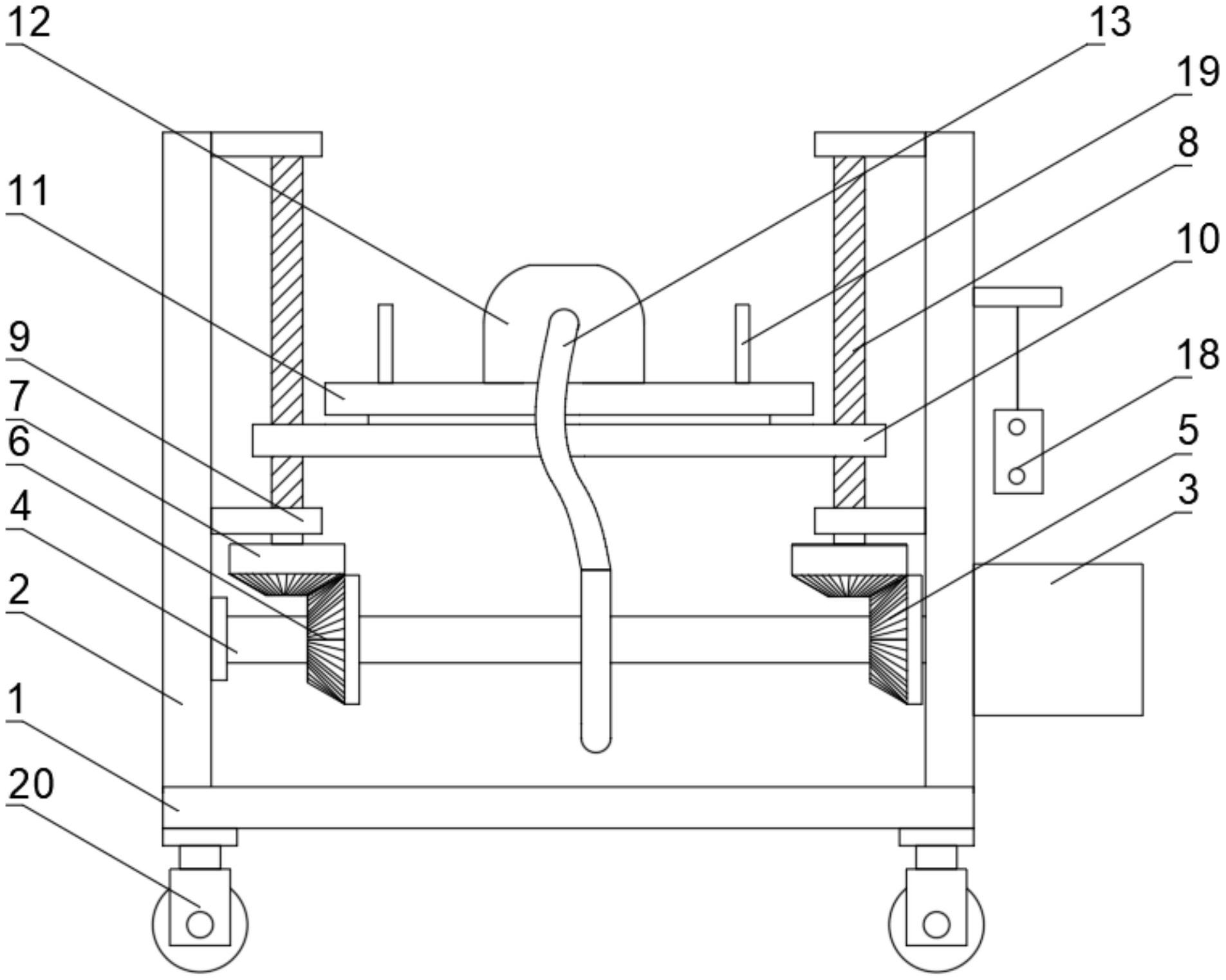
专利摘要:本实用新型公开了一种用于全水分测试的人工放样装置,包括机架,所述机架上设有转盘和挡板,所述转盘沿周向设有多个用于放置样瓶的放置部,所述挡板位于转盘的上方,所述挡板上开设有至少一个第一缺口和至少一个第二缺口,所述第一缺口与转盘之间形成人工放样位,所述第二缺口与转盘之间形成取瓶位。本实用新型的用于全水分测试的人工放样装置具有结构简单、可靠,测试效率高和适应性强的优点。

图片来源于网络,如有侵权,请联系删除
今年以来三德科技新获得专利授权8个,较去年同期减少了38.46%。结合公司2025年中报财务数据,2025上半年公司在研发方面投入了3205.91万元,同比减3.49%。
通过天眼查大数据分析,湖南三德科技股份有限公司共对外投资了4家企业,参与招投标项目3224次;财产线索方面有商标信息104条,专利信息1043条,著作权信息118条;此外企业还拥有行政许可42个。
数据来源:天眼查APP
以上内容为证券之星据公开信息整理,由AI算法生成(网信算备310104345710301240019号),不构成投资建议。
目录 返回
首页
