智投视界

乐歌股份获得实用新型专利授权:“一种桌下挡板组件及电动升降桌”

14 03月
作者:小微|{/foreach}{/if}

乐歌股份获得实用新型专利授权:“一种桌下挡板组件及电动升降桌”
图片来源于网络,如有侵权,请联系删除

证券之星消息,根据天眼查APP数据显示乐歌股份(300729)新获得一项实用新型专利授权,专利名为“一种桌下挡板组件及电动升降桌”,专利申请号为CN202520435750.5,授权日为2026年2月27日。

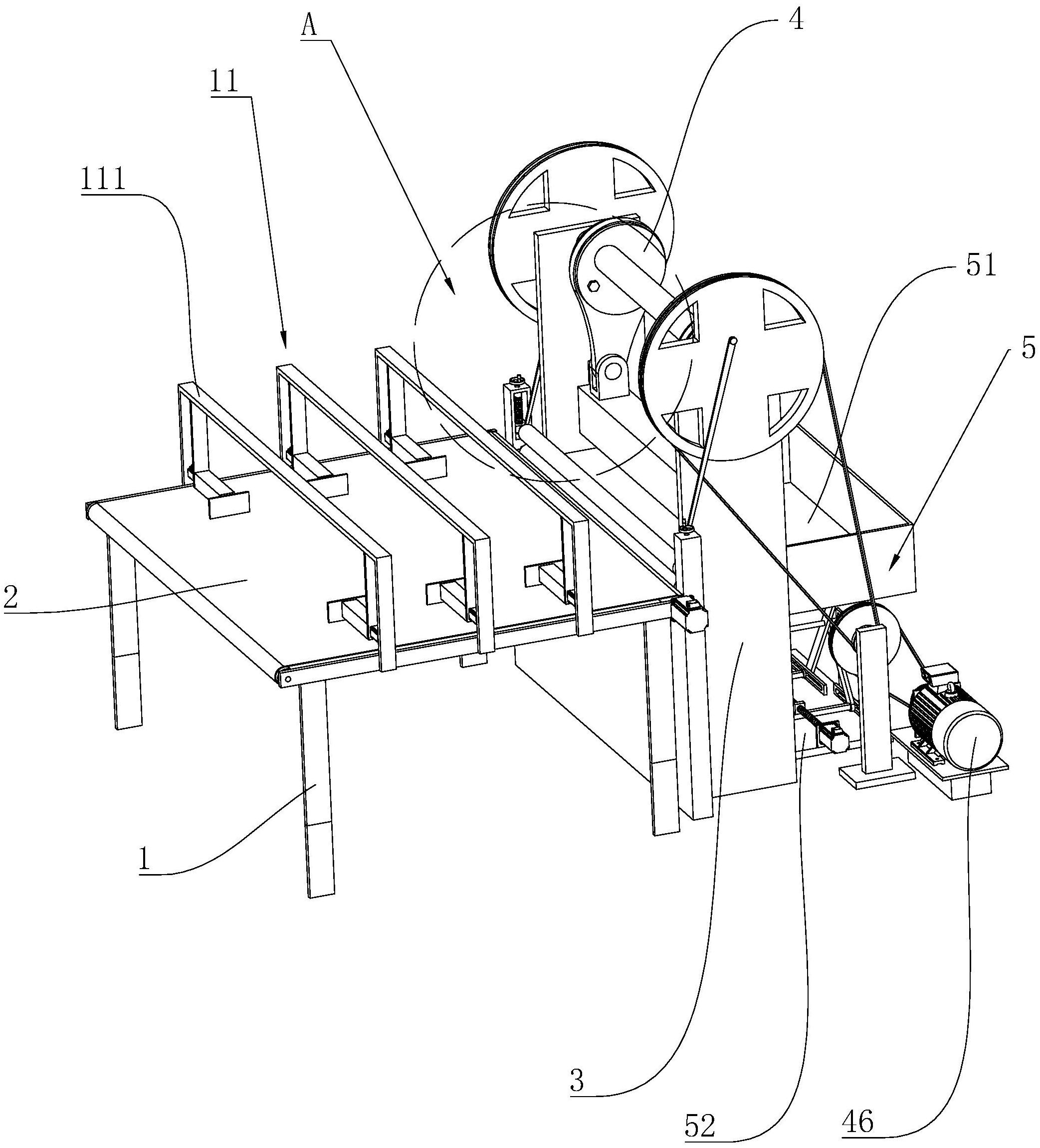
专利摘要:本实用新型公开一种桌下挡板组件及电动升降桌,桌下挡板组件包括挡板本体,挡板本体包括与桌子底部连接的固定板及与固定板连接的活动板,活动板相对于固定板转动以使挡板本体处于展开状态或折叠状态;展开状态下,活动板与固定板沿桌子高度方向依次分布且共同构成用于遮挡桌子下方空间的遮挡板;折叠状态下,活动板与固定板围设形成收纳空间。电动升降桌采用上述桌下挡板组件,该桌下挡板组件使用功能多样且能满足用户需求。

乐歌股份获得实用新型专利授权:“一种桌下挡板组件及电动升降桌”
图片来源于网络,如有侵权,请联系删除

今年以来乐歌股份新获得专利授权31个,较去年同期增加了3.33%。结合公司2025年中报财务数据,2025上半年公司在研发方面投入了1.11亿元,同比增45.26%。

通过天眼查大数据分析,乐歌人体工学科技股份有限公司共对外投资了16家企业,参与招投标项目129次;财产线索方面有商标信息466条,专利信息2617条,著作权信息92条;此外企业还拥有行政许可35个。

数据来源:天眼查APP

以上内容为证券之星据公开信息整理,由AI算法生成(网信算备310104345710301240019号),不构成投资建议。

浏览68.9k
返回
目录
返回
首页
“削峰填谷”维持资金平稳 债市多空博弈延续震荡 【ESG动态】中自科技(688737.SH)获华证指数ESG最新评级A,行业排名第73

Copyright © 2024 dw 版权所有

备案号: 蜀ICP备2024051291号-13

智投视界专业为您提供金融热点、数字经济、科技赋能、首发、财经新势、市价专栏等财经方面资讯,智投视界是一个专业财经领域资讯服务者。

本站部分内容为转载,不代表本站立场,如有侵权请联系处理。