智投视界

驰宏锌锗获得实用新型专利授权:“一种进路式采场的通风结构”

27 03月
作者:小微|{/foreach}{/if}

驰宏锌锗获得实用新型专利授权:“一种进路式采场的通风结构”
图片来源于网络,如有侵权,请联系删除

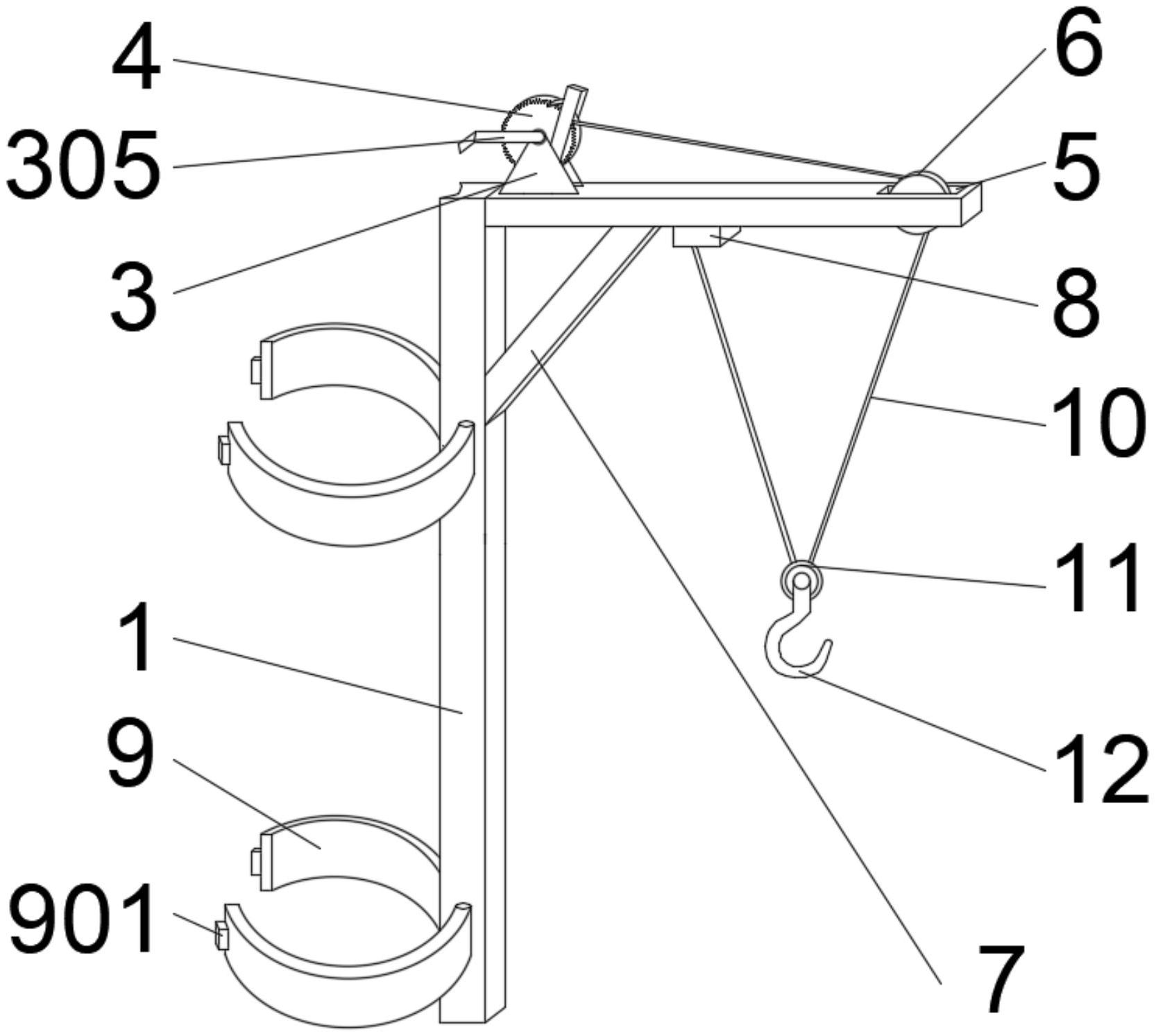
证券之星消息,根据天眼查APP数据显示驰宏锌锗(600497)新获得一项实用新型专利授权,专利名为“一种进路式采场的通风结构”,专利申请号为CN202521464566.X,授权日为2026年3月27日。

专利摘要:本申请是关于一种进路式采场的通风结构,涉及矿山通风技术领域。该一种进路式采场的通风结构,通过设置上盘回风联道与下盘回风联道,能够通过下盘回风联道引入新风,并通过上盘回风联道负责排出污风,形成经回风天井排风的单向循环路径,同时,通过控制回风天井与矿体形态一致,能够有效减少无效联络道工程量,减少开挖量,提高施工效率。同时,通过设置盘区回风联络道连通回风天井形成贯穿风流,能够缩短回风路径,提高了采场的通风效率。

驰宏锌锗获得实用新型专利授权:“一种进路式采场的通风结构”
图片来源于网络,如有侵权,请联系删除

今年以来驰宏锌锗新获得专利授权10个,较去年同期减少了73.68%。结合公司2025年年报财务数据,2025年公司在研发方面投入了1.56亿元,同比增19.65%。

通过天眼查大数据分析,云南驰宏锌锗股份有限公司共对外投资了28家企业,参与招投标项目28212次;财产线索方面有商标信息130条,专利信息990条,著作权信息68条;此外企业还拥有行政许可270个。

数据来源:天眼查APP

以上内容为证券之星据公开信息整理,由AI算法生成(网信算备310104345710301240019号),不构成投资建议。

浏览77.1k
返回
目录
返回
首页
债券募集资金使用监督未勤勉尽责,国信证券被出具警示函

Copyright © 2024 dw 版权所有

备案号: 蜀ICP备2024051291号-13

智投视界专业为您提供金融热点、数字经济、科技赋能、首发、财经新势、市价专栏等财经方面资讯,智投视界是一个专业财经领域资讯服务者。

本站部分内容为转载,不代表本站立场,如有侵权请联系处理。