博亚精工获得实用新型专利授权:“一种滚珠花键传动轴辅助装配装置”

图片来源于网络,如有侵权,请联系删除
证券之星消息,根据天眼查APP数据显示博亚精工(300971)新获得一项实用新型专利授权,专利名为“一种滚珠花键传动轴辅助装配装置”,专利申请号为CN202520940647.6,授权日为2026年4月24日。
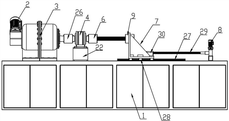
专利摘要:一种滚珠花键传动轴辅助装配装置,用于车辆底盘传动轴装配技术领域。底板的上表面固定连接有立柱,立柱的上表面固定连接有横板,横板的正面开设有凹槽,横板的内部开设有第一滑孔,第一滑孔的内壁贴合设置有第一圆柱,第一圆柱的底部和底板的上表面均固定连接有第一电动推杆,第一圆柱的表面固定连接有第一轴承,第一轴承的外圈固定连接有第一连接架。本实用新型将人工装配后封盖的传统装配方式升级为装置辅助装配方式,进而提高了装配效率,减轻了装配人员的劳动强度。
今年以来博亚精工新获得专利授权3个,较去年同期减少了50%。结合公司2025年年报财务数据,2025年公司在研发方面投入了4742.22万元,同比增2.88%。
通过天眼查大数据分析,襄阳博亚精工装备股份有限公司共对外投资了18家企业,参与招投标项目597次;财产线索方面有商标信息8条,专利信息329条,著作权信息22条;此外企业还拥有行政许可99个。
数据来源:天眼查APP
以上内容为证券之星据公开信息整理,由AI算法生成(网信算备310104345710301240019号),不构成投资建议。
目录 返回
首页
